Stay up to date with notifications from The Independent

Notifications can be managed in browser preferences.

Amazon proposal to cage workers in warehouses ridiculed

Critics say design is 'extraordinary illustration of worker alienation'

Colin Drury
Friday 14 September 2018 10:24 EDT
Comments
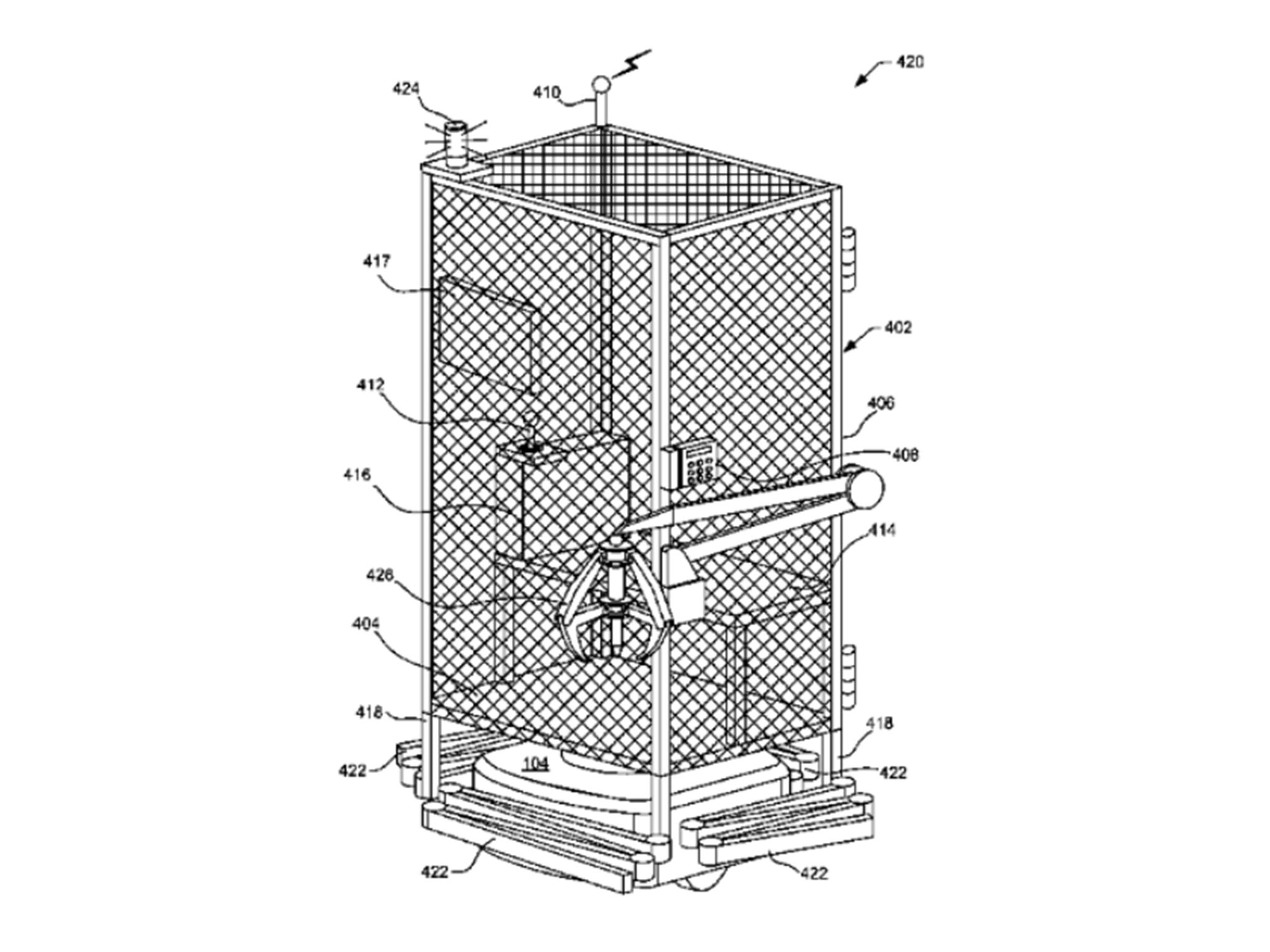
(United States Patent and Trademark Office)

Amazon has called it “forward looking technology”, designed to keep staff safe at in its vast warehouses, but critics are not convinced: they point out it looks an awful lot like a human cage.

An astonishing 2016 patent would have seen employees of the trillion-dollar company spend their shifts in tiny metal enclosures.

Inside there would have been small work station without a seat, from where each worker could ‘drive’ the cage around the warehouse. An attached robotic arm would take goods from shelves and place them in a trolley beneath the worker.

The patent was secured in 2016 and later abandoned but came light as part of a new academic study into the company’s use of artificial intelligence.

Authors Kate Crawford and Vladan Joler called the design “an extraordinary illustration of worker alienation, a stark moment in the relationship between humans and machines”.

Commentators online were equally unimpressed with many comparing it to something you “put prisoners in”.

But the Seattle-based company defended the patent.

It said the design had been an attempt to protect staff in a work environment that was increasingly populated by heavyweight robots, and would have allowed employees to safely access areas of warehouses that were otherwise off-limits because drones and robots were moving at high speeds.

“Sometimes even bad ideas get submitted for patents,” tweeted Dave Clark, the firm’s senior vice president of operations.

“This was never used and we have no plans for usage. We developed a far better solution which is a small vest associates can wear that cause all robotic drive units in their proximity to stop moving.”

Others agreed: some suggested the mesh was similar to some tractor cabins.

Lindsay Campbell, a spokeswoman for Amazon, said: "Like many companies, we file a number of forward-looking patent applications... Such a cage-like device is not in use in any Amazon fulfilment centres."

Join our commenting forum

Join thought-provoking conversations, follow other Independent readers and see their replies

Comments

Thank you for registering

Please refresh the page or navigate to another page on the site to be automatically logged inPlease refresh your browser to be logged in